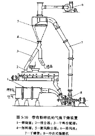
特點 本干燥機由于物料受到離心、剪切、碰撞、摩擦而被微粒化,呈高度分散狀態及固氣兩相間的相對速度較大,強化了傳質傳熱,故該機生產強度高。 干燥氣體進入干燥機底部,產生強烈的旋轉氣流,對器壁上物料產生強烈的沖刷帶出作用,消除粘壁現象。 在干燥機底部高溫區,熱敏性物料不與熱表面直接接觸,并裝有特殊裝置,解決了熱敏性物料的焦化變色問題。 由于干燥室內周向氣速高,物料停留時間短,達到高效、快速、小設備、大生產。 干燥室上部加裝陶析環及旋流片,可以控制出口物料的粒度及濕度,以達到不同物料的終水份粒度的要求。
工作原理 熱空氣由入口管以適宜的噴動速度從干燥機底部進入攪拌粉碎干燥室,對物料產生強烈的剪切、吹、旋轉作用,于是物料受到離心、剪切、碰撞、摩擦而被微粒化,強化了傳質傳熱。在干燥機底部,較大較濕的顆粒團在攪拌器的作用下被機械破碎,濕含量較低、顆粒度較小的顆粒被旋轉氣流夾帶上升,在上升過程中進一步干燥。由于氣固兩相作旋轉流動,固相慣性大于氣相,固氣兩相間的相對速度較大,強化兩相間的傳質傳熱,所以該機生產強度高。

應用范圍 有機物:阿特拉津(農藥殺蟲劑)、月桂酸隔、苯甲酸、安息香酸、殺菌丹、草酸鈉、醋酸纖維素 等。 染料:蒽醌、黑色氧化鐵、靛蘭顏料、丁酸、氫氧化鈦、硫化鋅、各種偶氮染料中間體。 無機物:硼砂、碳酸鈣、氫氧化物、硫酸銅、氧化鐵、碳酸鋇、三氧化銻、各種金屬氫氧化物、各種無機鹽、合成冰晶石等。 陶瓷:高嶺土、三氧化硅、粘土等。 食品:大豆蛋白、膠凝淀粉、酒糟、小麥糖、小麥淀粉等。

|